- 一、电子烟标准
1范围
本文件界定了电子烟的术语和定义,规定了电子烟设计与原材料要求、技术要求,描述了试验方法,
给出了标志和产品说明书。
本文件适用于电子烟及电子烟组件。
本文件不适用于其他烟草制品。
2规范性引用文件
下列文件中的内容通过文中的规范性引用而构成本文件必不可少的条款。其中,注日期的引用文
件,仅该日期对应的版本适用于本文件;不注日期的引用文件,其最新版本(包括所有的修改单)适用于
本文件。
GB/T 1540 纸和纸板吸水性的测定可勃法
GB/T 2423.7-2018 环境试验 第2部分:试验方法 试验Ec:粗率操作造成的冲击(主要用于
设备型样品)
GB/T 4208-2017 外壳防护等级(IP代码)
GB 4343.1 家用电器、电动工具和类似器具的电磁兼容要求第1部分:发射
GB 4706.1家用和类似用途电器的安全第1部分:通用要求
GB 4806.1食品安全国家标准食品接触材料及制品通用安全要求
GB 4806.3食品安全国家标准搪瓷制品
GB 4806.4食品安全国家标准陶瓷制品
GB 4806.5食品安全国家标准玻璃制品
GB 4806.6食品安全国家标准食品接触用塑料树脂
GB 4806.7食品安全国家标准食品接触用塑料材料及制品
GB 4806.8食品安全国家标准食品接触用纸和纸板材料及制品
GB 4806.9食品安全国家标准食品接触用金属材料及制品
GB 4806.10食品安全国家标准食品接触用涂料及涂层
GB 4806.11食品安全国家标准食品接触用橡胶材料及制品
GB 5009.11-2014 食品安全国家标准 食品中总砷及无机砷的测定
GB 5009.74 食品安全国家标准食品添加剂中重金属限量试验
GB 5749生活饮用水卫生标准
GB/T 6682 分析实验室用水规格和试验方法
GB/T 16450 常规分析用吸烟机定义和标准条件
GB/T 26572 电子电气产品中限用物质的限量要求
GB 29216 食品安全国家标准食品添加剂 丙二醇
GB 29950 食品安全国家标准食品添加剂 甘油
GB/T 41701-2022 电子烟烟液 烟碱、丙二醇和丙三醇的测定 气相色谱法
SJ/T 11364 电子电气产品有害物质限制使用标识要求
SJ/T 11796电子烟用锂离子电池和电池组通用规范
YC/T 164 烟用香精
YC/T 559烟草特征性成分生物碱的测定 气相色谱-质谱联用法和气相色谱-串联质谱法
3术语和定义
下列术语和定义适用于本文件。
3.1电子烟lectroniccigarette
用于产生气溶胶供人抽吸等的电子传送系统。
注:不包括卷烟。
可被电子装置全部或部分雾化为可吸入气溶胶的混合物及辅助物质。
3.3电子烟烟液 e-liquid
液体形态的雾化物。
3.4电子烟烟具electronic cigarette device
将雾化物雾化为可吸入气溶胶的电子装置。
3.5电子烟组件electronic igarette module
组成电子烟一个独立部分的部件或部件组合。
注:包括各种单独销售、可以组成电子烟一个独立部分的任何产品。
3.6烟弹cartridge
含有雾化物的电子烟组件。
3.7雾化剂atomization agent
雾化物中可雾化为气溶胶主体成分的物质。
注:一般为丙二醇、丙三醇和水。
3.8雾化物添加剂additive in e-atomization material
为改善品质、防止变质等功能需要而加入雾化物中的物质。
3.9电子烟用材料electronic cigarette material
制造电子烟所用的除雾化物外的其他材料。
3.10电子烟释放物 electroniccigarette emissions
抽吸电子烟产生的气溶胶。
3.11释放量 emission AMOunt
标准抽吸条件下电子烟释放物中某种或某类物质的量。
4设计与原材料要求
4.1 设计要求
4.1.1 电子烟烟具
4.1.1.1 电子烟烟具通用安全设计应符合GB4706.1的要求。
4.1.1.2电子烟烟具电磁兼容性能设计应符合GB4343.1的要求。
4.1.2电子烟用材料
4.1.2.1 与口腔、雾化物和电子烟释放物接触的材料选用应符合 GB 4806.1、GB 4806.3~GB 4806.11的
要求。
4.1.2.2 不与口腔、雾化物和电子烟释放物接触的材料选用应符合GB/T 26572 均质材料中限用物质
的限量要求。
4.1.3 雾化物
4.1.3.1不应对未成年人产生诱导性,不应使产品特征风味呈现除烟草外的其他风味。
4.1.3.2 雾化物应含有烟碱。
4.1.3.3雾化物添加剂选用应符合以下原则:
a)在正常及可预见使用条件下不会增加健康风险;
b)技术上有必要使用:
c)在达到预期效果的前提下,尽量减少添加剂的使用量;
d)不用于掩盖产品腐败、变质或质量缺陷等不良品质。
4.1.3.4 雾化物中不应使用的物质包括但不限于:
a)致癌性、致突变性、生殖毒性或呼吸系统毒性的物质;
b)与能量和活力有关的添加剂和兴奋剂;
c)可能使消费者产生有益健康或降低危害误解的物质;
d)单纯染色用途物质。
4.2 原材料要求
4.2.1 锂离子电池和电池组
应符合SJ/T 11796的标识和安全要求。
4.2.2 雾化物
4.2.2.1 烟碱、烟碱盐和烟草提取物
4.2.2.1.1 应使用烟草中提取的烟碱,纯度不应低于99%(质量分数)。
4.2.2.1.2允许使用烟碱合成的烟碱盐有苯甲酸盐、酒石酸盐、乳酸盐、乙酰丙酸盐、苹果酸盐和柠檬酸
盐,制备以上烟碱盐的烟碱应符合4.2.2.1.1的要求。
4.2.2.1.3 其他烟草提取物应符合YC/T164的技术要求。
4.2.2.2 雾化剂
4.2.2.2.1 丙二醇应符合GB 29216的要求。
4.2.2.2.2 丙三醇应符合GB29950的要求。
4.2.2.2.3水应符合GB 5749的要求。
4.2.2.3 雾化物添加剂
雾化物添加剂使用应符合以下要求。
a)雾化物中允许使用的添加剂及最大使用量按附录A执行。
b)使用其他添加剂应对其毒理学特性和使用安全风险进行评估,确认不会增加使用者健康风险。
评估内容包括但不限于:食用安全性、吸入安全性、在电子烟使用条件下的安全性。
c)添加剂有食品安全国家标准规定的,应符合其规定;没有食品安全国家标准规定的,企业应对其纯度、杂质和污染物等要求做出相应规定。
d)应关注使用物质安全风险信息变化,及时调整。
5技术要求
5.1 电子烟烟具
5.1.1防填充
电子烟烟具和烟弹应具有防止人为填充的封闭结构。
5.1.2 防漏液
使用电子烟烟液的电子烟烟具和烟弹应具有良好的密封性,不应出现漏液。
5.1.3 启动保护
电子烟烟具应具有防儿童启动功能和防止意外启动的保护功能。
5.1.4雾化区域温度
不应高于350℃.
5.1.5 防水
应达到GB/T 4208-2017中第6章的IPX4防护等级要求。
5.1.6 泄压安全
电子烟烟具由于电池失效导致内部出现压力时,泄压方向不应与抽吸方向相同。
5.1.7 跌落强度
电子烟跌落后不应起火、爆炸。
5.2 雾化物
5.2.1烟碱
雾化物中的烟碱浓度不应高于20mg/g,烟碱总量不应高于200mg.
5.2.2 杂质和污染物
应符合表1的规定。
表1 雾化物杂质和污染物要求
单位为毫克每千克
| 项目 | 指标 |
| 2.3-丁二酮 | ≤22.0 |
| 重金属(以Pb计) | ≤10 |
| 砷(以As计) | ≤3 |
5.3 电子烟释放物
5.3.1 烟碱释放量
每口释放量不应高于0.2mg.
5.3.2 羰基化合物释放量
每口释放量应符合表2的规定。
表2 电子烟释放物中羰基化合物要求
单位为微克
| 项目 | 指标 |
| 甲醛 | ≤7.0 |
| 乙醛 | ≤30.0 |
| 丙烯醛 | ≤5.0 |
| 2.3-丁二酮 | ≤2.5 |
6试验方法
6.1 电子烟烟具
6.1.1防填充
对于填充有雾化物的电子烟或烟弹,视检确定能否外加物质。
6.1.2 防漏液
对于填充有电子烟烟液的电子烟或烟弹,以可能出现的最不利的方向放置于符合GB/T 1540要求
的吸水纸上至少6h.视检确定吸水纸上有无电子烟烟液痕迹。
6.1.3 启动保护
按照产品说明书载明的信息检查,确认是否具有启动保护功能及其有效性。
6.1.4 雾化区域温度
按照附录B的规定执行。
6.1.5 防水
按照GB/T 4208-2017中14.2.4的规定执行。视检确定有无起火、爆炸。
防水试验后对电子烟完全放电,再充至满电。视检确定有无起火、爆炸。
6.1.6 泄压安全
对装配成使用状态的电子烟烟具中满电的电池进行过充电,过电压以0.1V的步进方式增加,每个步进保持5min,直至n*6.0V为止。视检确定是否发生压力释放;若发生压力释放,视检确定压力释放方向是否与抽吸方向相同。
注:n为电池或者电池并联块的串联级数。
6.1.7 跌落强度
电子烟装配成待使用状态,电池应满电,按照GB/T 2423.7-2018中5.2的规定进行自由跌落试验,高度为1.5m,方向为2个端面垂直向下各1次、水平方向1次。视检确定有无起火、爆炸。
跌落后对电子烟完全放电,再充至满电。视检确定有无起火、爆炸。
6.2 雾化物
6.2.1 烟碱
电子烟烟液烟碱浓度按照GB/T 41701 测定,固态雾化物烟碱浓度按照YC/T 559测定。
根据雾化物的质量计算烟碱总量。
6.2.2 2,3-丁二酮
按照附录C的规定执行。
6.2.3 重金属(以Pb计)
按照 GB 5009.74的规定执行。
6.2.4 砷(以As计)
按照GB 5009.11-2014中第一篇第一法的规定执行。
6.3 电子烟释放物
6.3.1 烟碱释放量
按照附录D和附录E的规定执行。
6.3.2 羰基化合物释放量
按照附录D和附录F的规定执行。
7标志和产品说明书
7.1 标志
7.1.1 电子烟产品应标明但不限于以下内容:
a)雾化物成分清单,按质量分数降序排列,最低至0.1%;
b)雾化物烟碱浓度和烟碱总量,分别以“mg/g”和“g”表示;
c)电子烟烟液体积或固态雾化物质量,分别以“mL”或“g”表示;
d)电子电气产品有害物质限制使用标志,应符合SJ/T 11364有害物质限制使用标志和标识规定:
e)健康警语,应符合国家相关规定。
7.1.2电子烟组件产品应标明但不限于以下内容:
a)匹配组件的名称型号和匹配要求;
b)如含有电子烟烟具部件,应标明7.1.1d)和7.1.1e)所列信息;
c)如含有雾化物,应标明7.1.1a)、7.1.1b)、7.1.1c)和7.1.1e)所列信息。
7.1.3 产品标志因体积、形状、表面材质或功能的限制不能在产品上标明的,应在销售包装上标明。
7.2 产品说明书
7.2.1电子烟产品说明书应标明:
a)安装、操作和使用时的注意事项和禁忌、应急处理措施等;
b)产品安装、操作和使用说明,包括启动保护说明,必要时应配图解:
c)产品性能和技术指标;
d)产品的清洁、保养和维护方法及售后服务信息;
e)雾化物成分清单,按质量分数降序排列,最低至0.1%;
f)雾化物烟碱浓度和烟碱总量,分别以“mg/g”和“mg”表示;
g)电子烟烟液体积或固态雾化物质量,分别以“mL”或“g”表示;
h)电子电气产品有害物质限制使用标志,应符合SJ/T 11364有害物质限制使用标志和标识规定;
i)健康警语,应符合国家相关规定。
7.2.2 电子烟组件产品说明书应标明:
a) 7.2.1a)、7.2.1b)和7.2.1i)所列信息;
b)匹配组件的名称型号、匹配要求和组装方法;
c)如含有电子烟烟具部件,应标明7.2.1c)、7.2.1d)和7.2.1h)所列信息;
d)如含有雾化物,应标明7.2.1e)、7.2.1f)和7.2.1g)所列信息。
附录A
(规范性)
雾化物中允许使用的添加剂及最大使用量
雾化物中允许使用的添加剂清单及最大使用量见表A.1.
表A.1 雾化物中允许使用的添加剂及最大使用量
附录 B
(规范性)
雾化区域温度试验方法
B.1 原理
采用热电偶法测定电子烟烟具发热体的表面温度。
B.2 仪器设备
B.2.1 热电偶
热电偶允差应达到1级。
B.2.2 数据采集仪
温度的采样频率不应低于10Hz.
B.3 试验条件
试验应在无强制对流空气且环境温度为(20±5)℃的场所进行。
B.4 试验步骤
B.4.1 样品制备
对于使用电子烟烟液的烟具,应在布置热电偶之前将电子烟烟液尽量去除,或使用未填充电子烟烟
液的电子烟烟具或烟弹。
对于使用固态雾化物的烟具,应不装载固态雾化物。
将电子烟烟具或烟弹的外壳和发热体附近的防护部件去除,便于放置热电偶。
使用耐高温胶水将热电偶黏接在发热体温度最高的位置。可使用辅助方式寻找温度最高的位置,如红外设备。
热电偶放置完毕后,应尽可能将电子烟烟具或烟弹复原,且保持各项功能正常。
B.4.2 温度测量
热电偶与数据采集仪连接后,对于使用电子烟烟液的烟具,使用附录D抽吸条件进行触发,触发持续时间为(3.0±0.1)s,间隔(27.0±0.5)s,抽吸10个循环;对于使用固态雾化物的烟具,按说明书载明的信息对其触发,持续时间为一个工作循环。
记录电子烟烟具工作期间的温度。
B.5 试验数据处理
对于使用电子烟烟液的烟具,以电子烟烟具工作期间的最高温度作为试验结果,精确至0.1℃.
对于使用固态雾化物的烟具,以电子烟烟具开始工作后第31.0秒至一个工作循环结束的最高温度
作为试验结果,精确至0.1℃.
B.6 试验报告
试验报告应包括以下内容:
----识别被测样品需要的所有信息;
----热电偶的位置;
----依据本试验方法:
----试验结果:
----与本方法规定的试验步骤的差异;
----在试验中观察到的异常现象;
----试验日期:
----试验人员。
附录C
(规范性)
雾化物中2,3-丁二酮的测定
C.1 原理
用2,4-二硝基苯肼(DNPH)溶液与雾化物中的2,3-丁二酮进行衍生化反应,高效液相色谱法测定
衍生化合物的含量。
C.2 仪器设备
C.2.1 分析天平,感量为0.1mg.
C.2.2高效液相色谱仪,配紫外或二极管阵列检测器。
C.2.3 涡旋振荡器。
C.3 试剂与材料
C.3.1水,GB/T 6682,一级。
C.3.2乙腈,色谱纯。
C.3.3磷酸,质量分数不低于85%.
C.3.4吡啶,纯度不低于99%.
C.3.5四氢呋喃,色谱纯。
C.3.6异丙醇,色谱纯。
C.3.7 2,4-二硝基苯肼盐酸盐(DNPH-HC1),纯度不低于98%.
C.3.8 2,3-丁二酮,纯度不低于98%.
C.3.9磷酸水溶液。
量取60mL磷酸(C.3.3)于1L烧杯中,搅拌下缓慢加入440mL水(C.3.1),混合均匀。储存于试
剂瓶中,有效期为3个月。
C.3.10 衍生化试剂。
称取1.00gDNPH-HCl(C.3.7)于2L烧杯中,加入500mL乙腈(C.3.2)和40mL磷酸水溶液
(C.3.9),溶解后加入500mL水(C.3.1),混合均匀。溶液转入棕色试剂瓶中避光储存,有效期为1周。
C.3.11 标准溶液。
C.3.11.1 2,3-丁二酮溶液。
称取0.10g 2,3-丁二酮(C.3.8)于10mL棕色容量瓶中,精确至0.1mg,用乙腈(C.3.2)溶解,定容
至刻度。-18℃避光储存,有效期为3个月。
C.3.11.2 DNPH衍生化合物标准储备液。
移取0.1mL2,3-丁二酮溶液(C.3.11.1)于25mL棕色容量瓶中,加入20mL衍生化试剂(C.3.10),摇
匀,室温反应20 min.加入1mL吡啶(C.3.4),用乙腈(C.3.2)定容至刻度。-18℃避光储存,有效期
为3个月。
C.3.11.3 标准工作溶液。
用乙腈将DNPH衍生化合物标准储备液(C.3.11.2)逐级稀释,制备至少5个标准工作溶液,质量浓
度范围宜为0.1μg/mL~4 μg/mL。应在使用前配制。
C.3.12 聚四氟乙烯(PTFE)滤膜,0.45μm.
C.4 分析步骤
C.4.1 样品前处理
C.4.1.1 电子烟烟液
称取0.50g样品于10mL棕色容量瓶中,精确至0.1mg,加入5mL衍生化试剂(C.3.10),摇匀,室
温反应20min.加入0.25mL吡啶(C.3.4),用乙腈(C.3.2)定容至刻度,摇匀。采用PTFE滤膜
(C.3.12)过滤于棕色色谱瓶中待测。
C.4.1.2 固态雾化物
称取0.50g样品于15mL离心管中,精确至0.1mg,加入10mL衍生化试剂(C.3.10),避光涡旋振
荡反应20 min.采用PTFE滤膜(C.3.12)过滤,移取5mL滤液于10mL棕色容量瓶中,加入0.25mL吡
啶(C.3.4),用乙腈(C.3.2)定容至刻度。采用PTFE滤膜(C.3.12)过滤于棕色色谱瓶中待测。
C.4.2 高效液相色谱条件
以下分析条件可供参考,采用其他条件应验证其适用性:
----色谱柱:C18色谱柱,150mm(长度)x2.1mm(内径),2.7μm(粒径),或等效柱;
----流动相A:水:乙腈:四氢呋喃:异丙醇(63:27:9:1);
----流动相B:水:乙腈:四氢呋喃:异丙醇(40:58:1:1);
----流动相C;乙腈;
----柱温:30℃;
----流速:0.3mL/min;
----进样体积:2μL;
----梯度:见表C.1;
----检测器:紫外或二极管阵列检测器,检测波长为365nm.
表C.1 高效液相色谱仪淋洗梯度
| 时间min | 流动相A% | 流动相B% | 流动相C% |
| 0.0 | 95 | 0 | 5 |
| 1.0 | 95 | 0 | 5 |
| 5.0 | 70 | 30 | 0 |
| 6.0 | 40 | 60 | 0 |
| 10.0 | 40 | 60 | 0 |
| 12.0 | 0 | 100 | 0 |
| 13.0 | 0 | 0 | 100 |
| 14.0 | 0 | 0 | 100 |
| 14.1 | 95 | 0 | 5 |
| 18.0 | 95 | 0 | 5 |
C.4.3 标准工作曲线制作
按照高效液相色谱条件(C.4.2)测定标准工作溶液(C.3.11.3),以目标化合物峰面积和浓度建立标
准工作曲线。
每进行20次样品测定后,应加入一个中等浓度的标准工作溶液,如果测得值与原值相差超过5%,
则应重新制作标准工作曲线。
C.4.4 样品测定
按照高效液相色谱条件(C.4.2)测定样品溶液(C.4.1).
每个样品平行测定两次。
C.5 结果计算与表述
雾化物中2,3-丁二酮的含量按式(C.1)计算。
x=CxVxd ………………(C.1)
m
式中:
X----雾化物中2,3-丁二酮的含量,单位为毫克每千克(mg/kg)
C----样品溶液中2,3-丁二酮的质量浓度,单位为微克每毫升(μg/mL)
V----样品溶液的定容体积,单位为毫升(mL);
d----稀释因子(电子烟烟液为1,固态雾化物为2);
m----雾化物质量,单位为克(g).
以两次平行测定结果的算术平均值为最终测定结果,精确至0.1mg/kg
两次平行测定结果的相对平均偏差不应大于10%.
C.6 回收率、检出限和定量限
本方法回收率、检出限和定量限见表C.2.
表C.2 方法的回收率、检出限和定量限
| 雾化物 | 化合物名称 | 回收率% | 检出限mg/kg | 定量限mg/kg |
| 电子烟烟液 | 2,3-丁二酮 | 96.1~102.4 | 0.3 | 1.1 |
| 固态雾化物 | 95.6~105.1 | 0.6 | 2.1 |
C.7 试验报告
试验报告应包括以下内容:
----识别被测样品需要的所有信息;
----依据本试验方法;
----试验结果;
----试验日期;
----试验人员。
附录D
(规范性)
电子烟标准抽吸条件
D.1 抽吸持续时间
抽吸持续时间为(3.0±0.1)s.
D.2 抽吸容量
配以(1000±50)Pa的压降装置后,测得的抽吸容量应为(55.0±0.6)mL.
D.3 抽吸频率
抽吸频率为每(30.0±0.5)s抽吸1口。
D.4 抽吸流量图
吸烟机的抽吸流量图应近似为矩形。测量时,应确认在吸烟机抽吸端口和测量装置间的气路中串
接(1000±50)Pa压降装置后,抽吸容量达到D.2要求,典型不带样品的抽吸流量图见图D.1.图D.1中,流量上升(0~t1)和下降(t2~3s)时曲线覆盖区域的面积V1+V3不得超过V1+V2+V3的10%.
最大流量应稳定处于16.5mL/s~20.1mL/s之间。
D.5 触发持续时间
如果电子烟在抽吸时需要额外触发才能正常产生气溶胶,应保持触发持续时间与抽吸持续时间同步,
开始触发时间与开始抽吸时间相差不应超过0.1s,结束触发时间与结束抽吸时间相差不超过0.1s.
D.6 测试大气
测试大气应满足:
----温度:(22±2)℃;
----相对湿度:(60±5)%.
附录E
(规范性)
电子烟释放物中烟碱释放量的测定
E.1 原理
用玻璃纤维滤片捕集电子烟释放物,用含内标的异丙醇溶液萃取玻璃纤维滤片,气相色谱法测定萃
取液中的烟碱含量。
E.2 仪器设备
E.2.1电子烟吸烟机。
E.2.2分析天平,感量为0.1mg.
E.2.3振荡器。
E.2.4具塞锥形瓶,50mL.
E.2.5气相色谱仪,配氢火焰离子化检测器。
E.3试剂与材料
E.3.1异丙醇,色谱纯。
E.3.2 内标物:正十七碳烷或2-甲基喹啉,纯度不低于99%.
注:纯度符合要求且不与释放物组分同时洗脱的其他物质也可以用作内标物。
E.3.3 烟碱。
E.3.4 萃取溶液。
含有适当浓度内标物(E.3.2)的异丙醇(E.3.1)溶液,一般为0.2mg/m~0.5 mg/mL.
E.3.5 标准溶液。
E.3.5.1标准储备液。
将烟碱(E.3,3)溶解于异丙醇(E.3.1),配制成烟碱标准储备液,一般为5.0mg/mL.避光储存于
4℃条件下,有效期为6个月。
E.3.5.2 标准工作溶液。
将不同体积的烟碱标准储备液(E.3.5.1)分别加入到20mL萃取溶液(E.3.4)中,制备至少5个标准
工作溶液。质量浓度范围宜为0.01mg
mg/mL~0.5 mg/mL
L.应在使用前配制。
E.3.6 玻璃纤维滤片,符合GB/T 16450要求。
E.4 分析步骤
E.4.1 样品准备
电子烟烟弹应在密封包装条件下,在测试大气环境中放置至少12h进行温度平衡。可充电电子烟
应在试验前将电池充满。
如果样品进气口可调节,应将其调至全开。对于功率可调的电子烟样品,采用最大功率。
E.4.2释放物捕集和处理
E.4.2.1 使用电子烟烟液的电子烟
按照附录D要求抽吸20口。抽吸完成后,取出玻璃纤维滤片(E.3.6),用一张新的玻璃纤维滤片10
(E.3.6)把捕集器前盖内壁擦拭干净,一并放入50mL具塞锥形瓶(E.2.4)中。加入20mL萃取溶液
(E.3.4),振荡萃取30min后,置于色谱瓶中待测。
E.4.2.2 使用固态雾化物的电子烟
电子烟烟具预热完成后,按照附录D要求开始抽吸。抽吸4支烟弹。每支烟弹抽吸口数根据电子
烟的加热时间(预热完成到加热停止之间的时间)按式(E.1)计算。
n=t-3+1 ………………(E.1)
30
式中:
n----抽吸口数,计算结果取整数部分的数值;
t----加热时间,单位为秒(s).
抽吸完成后,取出玻璃纤维滤片(E.3.6),用一张新的玻璃纤维滤片(E.3.6)把捕集器前盖内壁擦拭
干净,一并放入50mL具塞锥形瓶(E.2.4)中。加入20mL萃取溶液(E.3.4),振荡萃取30min后,置于
色谱瓶中待测。
E.4.3 气相色谱条件
以下分析条件可供参考,采用其他条件应验证其适用性:
-----色谱柱:弹性石英毛细管色谱柱,固定相为6%氰丙基苯基-94%二甲基聚硅氧烷,30m(长度)x0.32mm(内径)x1.8μm(膜厚),或等效柱;
----升温程序:初温100℃,保持1min的速率升至220℃,保持6min;
----进样口温度:250℃;
----检测器温度:275℃;
----进样体积:1μL,分流比20:1;
----载气:氦气,1.8mL/min;
----尾吹气:20mL/min;
----空气:450mL/min;
----氢气:
E.4.4 标准工作曲线制作
按照气相色谱条件(E.4.3)测定烟碱标准工作溶液(E.3.5.2).以烟碱和内标物的峰面积比值与含
量建立标准工作曲线。
每进行20次样品测定后,应加入一个中等浓度的烟碱标准工作溶液。如果测得值与原值相差超过
5%,则应重新制作标准工作曲线。
E.4.5 样品测定
按照气相色谱条件(E.4.3)测定样品萃取溶液(E.4.2)中烟碱含量。
每个样品平行测定三次。
E.5 结果计算与表述
电子烟释放物中烟碱的释放量按照式(E.2)计算。
x=m ………………………(E.2)
N
式中:
X----每口电子烟释放物中烟碱的释放量,单位为毫克(mg);
m----萃取液中的烟碱总量,单位为毫克(mg);
N----总抽吸口数,单位为口;
以三次平行测定的算术平均值为最终测定结果,精确至0.01mg.
E.6 回收率、检出限和定量限
本方法的回收率、检出限和定量限见表E.1.
表E.1回收率、检出限和定量限
| 化合物名称 | 回收率% | 检出限mg | 定量限mg |
| 烟碱 | 92.2~102.4 | 0.001 | 0.004 |
mg
E.7 试验报告
试验报告应包括以下内容:
----识别被测样品需要的所有信息;
----依据本试验方法;
----试验结果;
----试验日期;
----试验人员。
附录F
(规范性)
电子烟释放物中甲醛、乙醛、丙烯醛和2,3-丁二酮释放量的测定
F.1 原理
用2,4-二硝基苯肼(DNPH)溶液捕集电子烟释放物中的甲醛、乙醛、丙烯醛、2,3-丁二酮并衍生化,
高效液相色谱法测定。
F.2 仪器设备
F.2.1电子烟吸烟机。
F.2.2 分析天平,感量为0.1mg.
F.2.3高效液相色谱仪,配紫外或二极管阵列检测器。
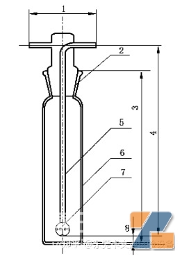
F.2.4 捕集阱,示意图参见图F.1.
标引序号说明:
1----距离70mm;
2----真空磨口24#;
3----高度200mm;
4----高度216mm;
5----管外径8mm;
6----管外径30mm;
7----球外径18mm,水平最大周径上均匀分布6个2mm直径的圆孔,底部圆孔直径4mm;
8----球底距瓶底4mm.
图F.1 捕集阱外形及尺寸示意图
F.3 试剂与材料
F.3.1水,GB/T 6682,一级。
F.3.2乙腈,色谱纯。
F.3.3磷酸,质量分数不低于85%.
F.3.4吡啶,纯度不低于99%.
F.3.5四氢呋喃,色谱纯。
F.3.6异丙醇,色谱纯。
F.3.7 2,4-二硝基苯肼盐酸盐(DNPH-HCI),纯度不低于98%.
F.3.8甲醛、乙醛、丙烯醛的DNPH衍生化合物,纯度不低于97%.
F.3.9 2,3-丁二酮,纯度不低于98%.
F.3.10磷酸水溶液。
量取60mL磷酸(F.3.3)于1L烧杯中,搅拌下缓慢加入440mL水(F.3.1),混合均匀。转入试剂
瓶中,有效期为3个月。
F.3.11 衍生化试剂。
称取1.00g DNPH-HCI(F.3.7)于2L烧杯中,分别加入500mL乙腈(F.3.2)和40mL磷酸水溶液
(F.3.10),溶解后加入500mL水(F.3.1),混合均匀。转入棕色试剂瓶中避光储存,有效期为1周。
F.3.12标准溶液。
F.3.12.1甲醛、乙醛、丙烯醛的DNPH衍生化合物标准储备液。
分别称取0.050g甲醛、丙烯醛的DNPH衍生化合物及0.10g乙醛的DNPH衍生化合物(F.3.8)
于50mL棕色容量瓶中,精确至0.1mg.用乙腈(F.3.2)溶解,定容至刻度。-18℃避光储存,有效期
为3个月。
F.3.12.2 2,3-丁二酮溶液。
称取0.10g 2,3-丁二酮(F.3.9)于10mL棕色容量瓶中,精确至0.1mg,用乙腈(F,3.2)溶解,定容
至刻度。-18℃避光储存,有效期为3个月。
F.3.12.3 2,3-丁二酮的DNPH衍生化合物标准储备液。
移取0.1mL 2,3-丁二酮溶液(F.3.12.2)于25mL棕色容量瓶中,加入20mL衍生化试剂(F.3.11),摇
匀,室温反应20min.加入1mL吡啶(F.3.4),用乙腈(F.3.2)定容至刻度。-18℃避光储存,有效期
为3个月。
F.3.12.4混合标准储备液。
分别移取5mL甲醛、乙醛、丙烯醛的DNPH衍生化合物标准储备液(F.3.12.1)和10mL2,3-丁二
酮的DNPH衍生化合物标准储备液(F.3.12.3)于25mL棕色容量瓶中,用乙腈(F.3.2)定容至刻度。
-18℃避光储存,有效期为3个月。
F.3.12.5 混合标准工作溶液。
分别移取不同体积的混合标准储备液(F.3.12.4)于10mL棕色容量瓶中,用乙腈(F.3.2)定容至刻
度,制备至少5个混合标准工作溶液。推荐质量浓度范围为甲醛0.07μg/mL~14 μg/mL,乙醛0.20μg/mL~40μg/mL,丙烯醛0.12μg/mL~24μg/mL,2,3-丁二酮0.04μg/mL.应在使用前配制。
F.3.13 聚四氟乙烯(PTFE)滤膜,0.45μm.
F.4 分析步骤
F.4.1 样品准备
电子烟烟弹应在密封包装条件下,在测试大气环境中放置至少12h进行温度平衡。可充电电子烟
应在试验前将电池充满。
如果样品进气口可调节,应将其调至全开。对于功率可调的电子烟样品,采用最大功率。
F.4.2 释放物捕集准备
分别移取25.0mL衍生化试剂(F.3.11)于每个捕集阱(F.2.4)中,将两个捕集阱(F.2.4)串接于电子
烟夹持器与捕集器之间,连接方式见图F.2.连接后按照附录D要求设置电子烟吸烟机,进行检漏和抽
吸容量核查,再将电子烟样品插入电子烟夹持器中。
标引序号说明:
1----电子烟;
2----电子烟夹持器;
3----连接管路;
4----捕集阱;
5----捕集器;
6----抽吸单元。
图F.2 电子烟抽吸连接方式示意图
F.4.3 释放物捕集及处理
F.4.3.1 使用电子烟烟液的电子烟
抽吸50口。抽吸完成后,取下捕集阱(F.2.4),静置20
。每个捕集阱(F.2.4)各移取5mL溶液
于20mL棕色容量瓶中,加入0.5mL吡啶(F.3.4),用乙腈(F.3.2)定容至刻度,摇匀。采用PTFE滤膜
(F.3.13)过滤于棕色色谱瓶中待测。
F.4.3.2 使用固态雾化物的电子烟
电子烟烟具预热完成后开始抽吸。抽吸4支烟弹。每支烟弹抽吸口数根据电子烟的加热时间(预
热完成到加热停止之间的时间)按式(F.1)计算确定:
n=t-3+1 …………………………(F.1)
30
式中:
n----抽吸口数,计算结果取整数部分的数值;
t----加热时间,单位为秒(s).
抽吸完成后,取下捕集阱(F.2.4),静置20min.每个捕集阱(F.2.4)各移取5mL溶液于20mL棕
色容量瓶中,加入0.5mL吡啶(F.3.4),用乙腈(F.3.2)定容至刻度,摇匀。采用PTFE滤膜(F.3.13)过滤于
棕色色谱瓶中待测。
F.4.4 空白试验
在不加样品的情况下,重复F.4.3试验过程,进行空白试验。
每批样品应制备一个空白样品。
F.4.5 高效液相色谱条件
以下分析条件可供参考,采用其他条件应验证其适用性:
----色谱柱:C18色谱柱,150mm(长度))x2.1mm(内径),2.7μm(粒径),或等效柱;
----流动相A:水:乙腈:四氢呋喃:异丙醇(63:27:9:1);
----流动相B:水:乙腈:四氢呋喃:异丙醇(40:58:1:1);
----流动相C:乙腈;
----柱温:30℃;
----流速:0.3 mL/min;
----进样体积:2μL;
----梯度:见表F.1;
----检测器:紫外或二极管阵列检测器,检测波长为365nm.
表F.1高效液相色谱仪淋洗梯度
| 时间min | 流动相A% | 流动相B% | 流动相C% |
| 0.0 | 95 | 0 | 5 |
| 1.0 | 95 | 0 | 5 |
| 5 | 70 | 30 | 0 |
| 6 | 40 | 60 | 0 |
| 10 | 40 | 60 | 0 |
| 12 | 0 | 100 | 0 |
| 13 | 0 | 0 | 100 |
| 14 | 0 | 0 | 100 |
| 14.1 | 95 | 0 | 5 |
| 18 | 95 | 0 | 5 |
F.4.6 标准工作曲线制作
按照高效液相色谱条件(F.4.5)测定混合标准工作溶液(F.3.12.5).以目标化合物峰面积和浓度建
立标准工作曲线。
每进行20次样品测定后,应加入一个中等浓度的混合标准工作溶液,如果测得值与原值相差超过
5%,则应重新制作标准工作曲线。
F.4.7 样品测定
按照高效液相色谱条件(F.4.5)测定样品溶液(F.4.3).
每个样品平行测定三次。
24
F.5 结果计算与表述
电子烟释放物中甲醛、乙醛、丙烯醛、2,
丁二酮的释放量按照式(F.2)计算:
x=(C-C.)xVx5 ……………………………(F.2)
N
式中:
X----每口电子烟释放物中目标化合物的释放量,单位为微克(μg)
C----样品溶液中目标化合物的测定质量浓度,单位为微克每毫升(μg/mL)
C.----空白试验中目标化合物的测定质量浓度,单位为微克每毫升(μg/mL)
V----样品溶液的定容体积,单位为毫升(mL);
N----总抽吸口数,单位为口。
以三次平行测定的算术平均值为最终测定结果,精确至0.01μg.
F.6 回收率、检出限和定量限
本方法的回收率、检出限和定量限见表F.2.
表F.2 方法的回收率、检出限和定量限
| 化合物名称 | 回收率% | 检出限μg | 定量限μg |
| 甲醛 | 92.7~103.0 | 0.004 | 0.012 |
| 乙醛 | 95.5~101.5 | 0.008 | 0.027 |
| 丙烯醛 | 95.6~106.8 | 0.006 | 0.021 |
| 2,3-丁二酮 | 93.9~98.9 | 0.006 | 0.021 |
F.7 试验报告
试验报告应包括以下内容:
----识别被测样品需要的所有信息;
----依据本试验方法;
----试验结果;
----试验日期:
----试验人员。
二、测试设备清单
2.1环境可靠性测试设备
2.1.1防水试验机(防水IP34)
2.1.2 恒温恒湿试验箱
2.1.3跌落试验机(可与锂电池测试共用)
2.1.4盐雾试验机
2.1.5 防尘试验机
2.1.6模拟高空低压试验箱(可与锂电池测试共用)
2.1.7燃烧喷射试验机(可与锂电池测试共用)
2.1.8电磁振动试验机
2.2电子烟器具测试设备
2.2.1电子烟模拟抽烟机
2.2.2烟雾浓度测试仪
2.2.3发热丝使用寿命测试仪
2.2.4耐摩擦试验机
2.2.5电子烟口数测试机
2.2.6电子烟吸阻测试机
2.2.7咪头灵敏度试验机
2.2.8拔插力试验机
2.3便携式锂电池电子产品测试设备
2.3.1电池防爆试验箱
2.3.2挤压试验机
2.3.3温控短路试验机
2.3.4燃烧喷射试验机
2.3.5重物冲击试验机
2.3.6热冲击试验箱
2.3.7振动试验机
2.3.8加速度冲击试验机
2.3.9过充电过放电测试柜
2.3.10分容柜






